Porsche ma bardzo ambitne plany wobec samochodów autonomicznych i tworzy patenty, które mogą być rewolucją na rynku samochodów osobowych
Jeśli tytuł nic wam nie mówi to nie przejmujcie się, ja sam gdy zajrzałem pierwszy raz w dokumenty przedstawiające patent byłem lekko zdezorientowany. Jedyne co mi się nasuwało na myśl to pytanie: “O co tak naprawdę chodzi w tym wszystkim i jaki to ma sens?”. Jak wynika z karty patentowej pomysł dotyczy tylko samochodów autonomicznych i ma na celu “poprawę komfortu w kabinie pasażerskiej”. Brzmi bardzo ciekawie, a do tego łączy się z poprzednim pomysłem Porsche w tej dziedzinie, czyli obrotowym fotelem kierowcy.
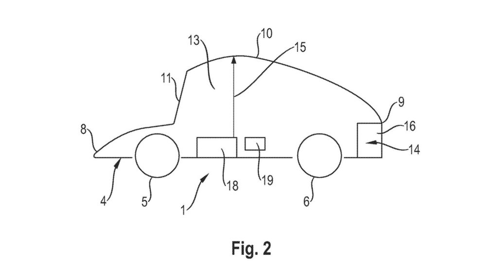
Patrząc na rysunki załączone do wniosku patentowego można pomyśleć, że jakieś 3-letnie dziecko dostało kartkę papieru, ołówek i chciało narysować 911-stkę swojego ojca. Aczkolwiek załączone zdjęcia idealnie przedstawiają zamysły Porsche. Cały patent polega na tym, że przełączając samochód w tryb autonomiczny dach unosi się ku górze zwiększając miejsce dla pasażerów. Mogą oni wtedy podróżować komfortowo, korzystać ze wszelkich udogodnień i zrelaksować się. Jeśli natomiast przechodzimy w tryb jazdy manualnej to auto “zwija” dach do pozycji normalnej zapewniając lepszą aerodynamikę i osiągi. Tutaj pojawia się jedno zasadnicze pytanie: Jak to wpłynie na spalanie?
Oczywiście samochody będą elektryczne wtedy i wszystko będzie bardziej eko, ale zużycie prądu czy paliwa i tak wzrośnie gdy zwiększy się powierzchnia. Pytanie też o ile dach wysunie się ku górze? Cały plan brzmi całkiem rozsądnie, bo wyobraźcie sobie luksusową limuzynę Porsche z takim rozwiązaniem. Wtedy poziom luksusu w środku również podniósłby się znacząco. Jeśli już jesteśmy przy poziomach to producent chce wprowadzić czwarty poziom jazdy autonomicznej, co w skali od 0 do 5 oznacza wysoce zaawansowaną automatyzację. Nie nastąpi to w najbliższym czasie, ale za 5-10 lat takie rozwiązanie może być powszechne. Czekamy na pierwsze prototypu tego “ruchomego dachu”.

Kopia dokumentu PDF z patentem znajduje się na stronie taycanevforum.com

Założyciel | Redaktor naczelny
Pasjonat motoryzacji i marketingu – wielu mówi, że urodził się z benzyną we krwi, lecz lekarze wciąż mają wątpliwości jak to możliwe.

	
			















